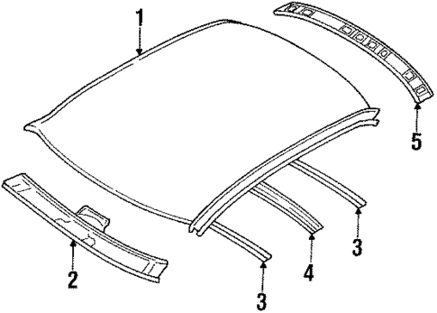
Roof for 1990 Subaru Loyale
Vehicle
1990 Subaru Loyale
Change Vehicle
- Bumper & Components - Front
- Bumper & Components - Rear
- Bumper Assembly - Rear
- Center
- Center Pillar
- Cowl
- Door & Components
- Fender & Components
- Front Door
- Fuel Door
- Gate & Hardware
- Glass - Front Door
- Glass - Lift Gate
- Glass - Rear Door
- Glass - Windshield
- Glass & Hardware
- Grille
- Hood & Components
- Inner Components
- Instrument Panel
- Interior Trim
- Labels
- Liftgate
- Luggage Carrier
- Outer Components
- Quarter Panel & Components
- Rear Body
- Rear Door
- Roof
- Roof Rack
- Sound System
- Tracks & Components
- Trunk
- Wiper & Washer Components
- Alternator
- Antenna & Radio
- Battery
- Bulbs - Chassis
- Combination Lamps
- Components On Apron
- Components On Dash Panel
- Distributor
- Door
- Flashers
- Front Door
- Front Seat Belts
- Gauges
- Headlamp Components
- High Mount Lamps
- Horn
- Ignition Lock
- Ignition System
- Instruments & Gauges
- License Lamps
- Park Lamps
- Passive Restraints
- Powertrain Control
- Rear Door
- Rear Seat Belts
- Senders
- Signal Lamps
- Starter
- Starter & Related Components
- Switches
- Switches, Solenoids & Actuators
- Trunk
- Window Defroster
- Wipers
- Bumper & Components - Front
- Bumper & Components - Rear
- Bumper Assembly - Rear
- Center
- Center Pillar
- Cowl
- Door & Components
- Fender & Components
- Front Door
- Fuel Door
- Gate & Hardware
- Glass - Front Door
- Glass - Lift Gate
- Glass - Rear Door
- Glass - Windshield
- Glass & Hardware
- Grille
- Hood & Components
- Inner Components
- Instrument Panel
- Interior Trim
- Labels
- Liftgate
- Luggage Carrier
- Outer Components
- Quarter Panel & Components
- Rear Body
- Rear Door
- Roof
- Roof Rack
- Sound System
- Tracks & Components
- Trunk
- Wiper & Washer Components
- Alternator
- Antenna & Radio
- Battery
- Bulbs - Chassis
- Combination Lamps
- Components On Apron
- Components On Dash Panel
- Distributor
- Door
- Flashers
- Front Door
- Front Seat Belts
- Gauges
- Headlamp Components
- High Mount Lamps
- Horn
- Ignition Lock
- Ignition System
- Instruments & Gauges
- License Lamps
- Park Lamps
- Passive Restraints
- Powertrain Control
- Rear Door
- Rear Seat Belts
- Senders
- Signal Lamps
- Starter
- Starter & Related Components
- Switches
- Switches, Solenoids & Actuators
- Trunk
- Window Defroster
- Wipers
Browse Categories
Select category
- Bumper & Components - Front
- Bumper & Components - Rear
- Bumper Assembly - Rear
- Center
- Center Pillar
- Cowl
- Door & Components
- Fender & Components
- Front Door
- Fuel Door
- Gate & Hardware
- Glass - Front Door
- Glass - Lift Gate
- Glass - Rear Door
- Glass - Windshield
- Glass & Hardware
- Grille
- Hood & Components
- Inner Components
- Instrument Panel
- Interior Trim
- Labels
- Liftgate
- Luggage Carrier
- Outer Components
- Quarter Panel & Components
- Rear Body
- Rear Door
- Roof
- Roof Rack
- Sound System
- Tracks & Components
- Trunk
- Wiper & Washer Components
- Alternator
- Antenna & Radio
- Battery
- Bulbs - Chassis
- Combination Lamps
- Components On Apron
- Components On Dash Panel
- Distributor
- Door
- Flashers
- Front Door
- Front Seat Belts
- Gauges
- Headlamp Components
- High Mount Lamps
- Horn
- Ignition Lock
- Ignition System
- Instruments & Gauges
- License Lamps
- Park Lamps
- Passive Restraints
- Powertrain Control
- Rear Door
- Rear Seat Belts
- Senders
- Signal Lamps
- Starter
- Starter & Related Components
- Switches
- Switches, Solenoids & Actuators
- Trunk
- Window Defroster
- Wipers
- Bumper & Components - Front
- Bumper & Components - Rear
- Bumper Assembly - Rear
- Center
- Center Pillar
- Cowl
- Door & Components
- Fender & Components
- Front Door
- Fuel Door
- Gate & Hardware
- Glass - Front Door
- Glass - Lift Gate
- Glass - Rear Door
- Glass - Windshield
- Glass & Hardware
- Grille
- Hood & Components
- Inner Components
- Instrument Panel
- Interior Trim
- Labels
- Liftgate
- Luggage Carrier
- Outer Components
- Quarter Panel & Components
- Rear Body
- Rear Door
- Roof
- Roof Rack
- Sound System
- Tracks & Components
- Trunk
- Wiper & Washer Components
- Alternator
- Antenna & Radio
- Battery
- Bulbs - Chassis
- Combination Lamps
- Components On Apron
- Components On Dash Panel
- Distributor
- Door
- Flashers
- Front Door
- Front Seat Belts
- Gauges
- Headlamp Components
- High Mount Lamps
- Horn
- Ignition Lock
- Ignition System
- Instruments & Gauges
- License Lamps
- Park Lamps
- Passive Restraints
- Powertrain Control
- Rear Door
- Rear Seat Belts
- Senders
- Signal Lamps
- Starter
- Starter & Related Components
- Switches
- Switches, Solenoids & Actuators
- Trunk
- Window Defroster
- Wipers

Subaru